Cometa de Guerra de Cody

Las varillas son dos de 1750 mm, (lo lógico es dividirla en dos tramos), un punto bueno de corte será dando una longitud de 860 mm ; dos de 1010 mm ;estas dos varillas de las alas deben ser más largas a gusto del cliente con el fin de poder tensar desde cada extremo, además de que el "radar" va apoyado en los extremos superiores. Las embebidas en la tela son cuatro de la longitud de 920 mm ; dos de 426; dos de 326, estas dos últimas van dentro del ala delantera, las llamo embebidasya que al plegar la cometa no es necesario retirarlas.

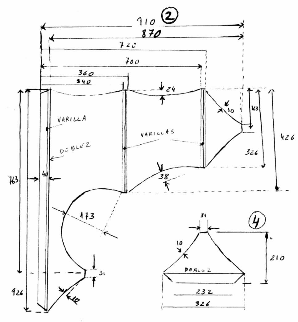
El ala delantera va con unos vientos o tirantes para mantener un pequeño ángulo de ataque, desde los extremos de las varillas cortas, hasta la punta de las patas delanteras. Los números encerrados en circulo indican el número de piezas necesarias. Lo interesante es mantener la máxima tensión de la tela, por lo tanto la forma para trabajar lo mínimo posible consistirá en rodearla con cinta de biés.

Falta por dibujar en el plano los cintones o camisas que cubren a las varillas para los cuales ya se tiene previsto un espacio de 20 mm, las curvaturas que se dan es para mantener la tensión de las superficies.

Respecto a las bridas, conviene que sean largas, están ubicadas en los extremos de las patas de adelante, para lo cual transversalmente se unirán dos a dos el extremo anterior (longitud de 2300 mm , de unión de pata y cuadrado el de la derecha con la izquierda y el posterior de pata y cuadrado el de la derecha con la izquierda , uniendo estos dos ángulos mediante otra pequeña de 400 mm, brida a la que hay que encontrar el ángulo de ataque de la cometa, su punto está más cerca de la brida de adelante que de la de atrás, total de metros de brida 5 metros.

Del "radar" salen seis vientos , cuatro de adelante y dos hacia atrás, también leva varillas uno longitudinal y dos verticales ya que conviene que el plano vetical trabaje como timón.