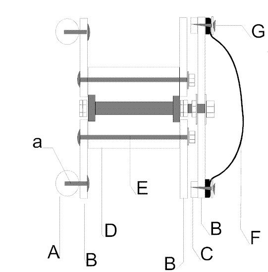
Skizzen & Pläne: Winde    (zurück)
Übersichtsplan

uebersicht.gif (11193 Byte)